精彩推荐:青光眼 白内障 近视 远视 散光 斜视弱视 角膜溃疡 角膜炎 沙眼 眼外伤 更多疾病
大众频道
专业频道
时尚频道
互动频道
疾 病 | 保 健 | 爱眼动态 | 名医名院
知 识 | 美 食 | 自检自测 | 爱眼纪事
资 讯 | 临 床 | 学 术 | 文 献
图 谱 | 医 患 | 继 教 | 家 园
五官之美 | 整 形 | 美 容
眼镜一族 | 妆 容 | 图 库
眼科在线 | 预留位置
眼科知道 | 在线咨询
  当前位置: 中华眼科在线 >> 医学频道 >> 临床医学 >> 论文汇集 切换到繁體中文 用户登录 新用户注册
转化生长因子β诱导晶状体上皮细胞凋亡

http://www.cnophol.com 2008-10-31 14:35:18 中华眼科在线

  2 结果

  2.1 MTT测定结果显示不同浓度TGF-β2分别作用24,48,72 h后均能显著抑制晶状体上皮细胞的增殖(表1),TGF-β2的效果与作用浓度、作用时间有关;浓度较低时,TGF-β2发挥效果慢,但作用持久。将每一时间点的实验组与空白对照组比较,由公式

  

  计算出TGF-β2对细胞增殖的抑制率(图1),从17%至35%不等。

表1 TGF-β2对晶状体上皮细胞增殖的作用(±s,n=11)

  Tab.1 The effects of TGF-β2 on the

  proliferation of LECs(±s,n=11)

Concentrations of

  TGF-β2(ng/ml)

Absorbance value(%)
24 h 48 h 72 h
0 0.377±0.117 0.407±0.152 0.422±0.197
0.001 0.278±0.102b 0.317±0.141b 0.285±0.165c
0.01 0.273±0.102c 0.293±0.150c 0.276 ±0.160c
0.1 0.311±0.104b 0.302±0.153c 0.272±0.155c
1 0.294±0.101c 0.309±0.153c 0.312±0.156
10 0.277±0.107c 0.337±0.140b 0.324±0.146

 Paired rank sum test,bP<0.05,cP<0.01 vs control group

图1 不同浓度TGF-β2抑制晶状体上皮细胞增殖

  Fig.1 TGF-β2 inhibited LECs proliferation

  2.2 依据上面的结果,我们选择0.01 ng/ml,0.1 ng/ml研究TGF-β2对晶状体上皮细胞凋亡的作用。光镜下观察TUNEL法染色后细胞,正常生长细胞的细胞核复染后呈绿色,凋亡细胞核的DNA断端经标记后细胞核呈黄色和棕黄色。较早出现的阳性细胞核仅边缘呈黄色,TGF-β2作用较长时间后,有的阳性细胞核呈均匀着色。

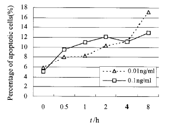
  由图2可见,正常生长的晶状体上皮细胞中有5%的细胞自发凋亡,TGF-β2作用后,凋亡细胞百分率逐渐上升。0.01 ng/ml TGF-β2作用4 h后,凋亡细胞百分率升至11.25%,明显高于未加因子组(P<0.05);作用8 h后效果更为明显(P<0.01)。0.1 ng/ml TGF-β2作用0.5 h,凋亡细胞百分率即明显升高,达9.5%,而后曲线平稳上升,各时间点结果均与未加因子组有明显差异(P<0.01)。

图2 TGF-β2对晶状体上皮细胞凋亡的作用(n=8)

  Fig.2 LECs apoptosis induced by TGF-β2(n=8)

上一页  [1] [2] [3] 下一页

(来源:互联网)(责编:duzhanhui)

下一条:
更多关于(眼睛,中华眼科在线,眼科,转化生长因子β,晶状体)的信息
  热门图文

爱美就不要吝啬

秋水明眸滋润心得

保你成为人气女王的8款

眼部肌肤年龄测试
  健康新看点
  健康多视点
  图话健康

Copyright © 2007 中华眼科在线 网站备案序列号: 京ICP备08009675号
本网站由五景药业主办 北京金鼎盛世医学传媒机构负责运营 国家医学教育发展中心提供学术支持
服务电话:010-63330565 服务邮箱: [email protected]